The 2022 Ford Mustang Will Have a V8…With Hybrid Power?
The current-gen Ford Mustang was, in 2019, the world’s best-selling sports car. It regularly out-sells the Camaro and even the Dodge Challenger. And the range-topping GT500 can keep pace with some supercars. But arguably the most distinctive Mustang family member is the Mach-E electric SUV. And it appears that that the Mach-E won’t just be using the Mustang name. It’ll also be influencing the next-gen sports car. That’s because, based on recent rumors, the 2022 Ford Mustang won’t just have a V8: it’ll be an all-wheel-drive hybrid, too.
The Ford Mustang V8 hybrid rumor details

We’ve already known about the Mach 1 name returning to replace the GT350 and/or Bullitt in 2021. In addition, a few months ago news leaked that the next-gen, S650 Ford Mustang would be released in 2022 as a 2023 model. However, mechanical details were at that point few and far between.
According to Autocar, as part of Ford’s plan to increase its electric and hybrid offerings, the 2022 Ford Mustang will come with a hybrid powertrain. Autoblog reports the automaker filed a patent in 2017 that described a “twin-motor drive system for hybrid vehicle.” Although not quite as outside-the-box as Mazda’s rotary hybrid, this would nevertheless be the first Ford Mustang hybrid ever.

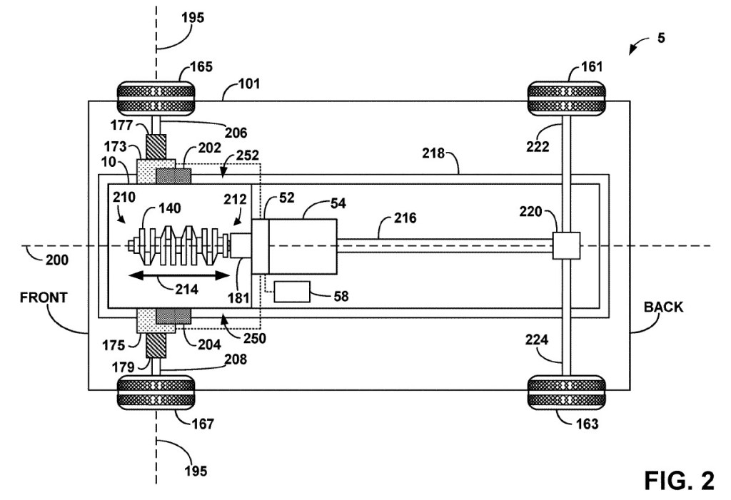
The diagram shows a car with a front-mounted V-shaped engine powering the rear wheels through a conventional transmission. However, the patent drawing also shows 2 electric motors driving the front wheels, as well as a starter/generator attached to the engine. Those electric motors mean this would also be the first AWD Ford Mustang.
Would there still be a non-hybrid RWD Ford Mustang?
To be sure, the engine in the patent diagrams isn’t identified as a V8. And as YouTuber Matt Moran Motoring discusses in the video below, there may be a marketing-related reason for that.
As Autoblog points out, the electric Mach-E and upcoming Mach 1 have an obvious name similarity. But the original Mach 1 wasn’t a range-topper like the GT500 is. It was a package that offered a variety of engine choices. So, it’s possible that Ford could offer the Mach 1 as a hybrid with either a V6, V8, or even the turbocharged four-cylinder. With the GT350 and Bullitt gone, there’s enough room in the Ford Mustang lineup for models between the 435-hp GT and 760-hp GT500.
In addition, note that the Ford patent diagram still shows an ICE engine sending power through a transmission to the rear wheels. Minus the mild-hybrid-like starter/generator, this is essentially how the current-gen Mustang works. As Chevy will likely do with the C8 Corvette hybrid, Ford will likely continue to offer a gasoline-only Mustang alongside the more expensive hybrid trim.
However, the exact arrangement depends on a few, still-unknown details.
What we still don’t know
Firstly, it’s possible the 2022 Ford Mustang’s launch and development will be delayed due to the COVID-19 pandemic. Instead of launching in 2022 as a 2023 model, it might launch noticeably later.

In addition, there are conflicting rumors about what platform the S650-gen Mustang will ride on. MotorAuthority points out that the newly-refreshed Ford Explorer’s platform is RWD-based. Also, the Explorer already offers a hybrid powertrain, so building a hybrid Mustang on it is feasible. Furthermore, Ford announced in 2018 that its lineup would eventually be based on 5 modular platforms, similar to VW’s strategy.

However, MotorAuthority reports it’s likely the Mustang won’t move onto the Explorer’s platform until after the S650 model bows out. This is important because the current-gen Ford Explorer doesn’t offer a V8. Neither does its platform-mate, the Lincoln Aviator. Meaning, a V8 Mustang hybrid on an Explorer platform might not be possible.
Let’s hope that more details emerge from Ford soon.
Follow more updates from MotorBiscuit on our Facebook page.