Rivian Patents Tailgate Tech: Watch Out Ford, Ram, and GM
What’s the biggest fad in the pickup truck segment in 2022? Probably going fully electric, but multi-function tailgates are pretty big too. Each automaker is announcing its tailgate technology, allowing owners to do more than open up their truck bed. Rookie automaker Rivian has just filed patents for its tailgate tech, looking to compete with industry giants like Ford, Ram, and GM.
Rivian patents tailgate tech to compete

Rivian knows as a lesser-known automaker it has to do everything other brands do, better. That’s why with the announcements of Ford and Ram following up on GM’s multi-function tailgate systems, Rivian has joined too. According to Motor1, three recent patent filings indicate Rivian plans to offer a fancy tailgate for its R1T electric pickup truck. What can the new Rivian tailgate do?
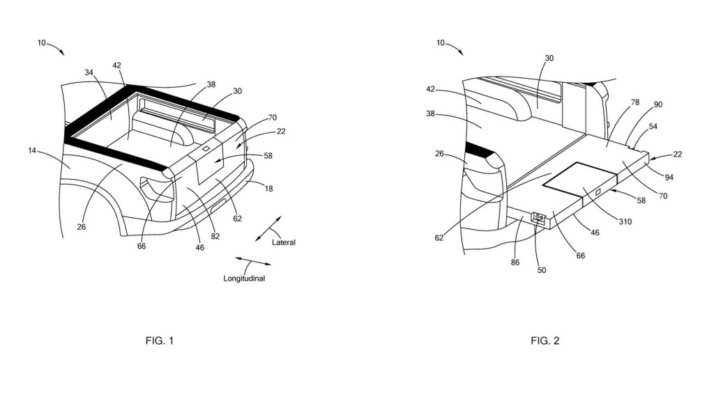
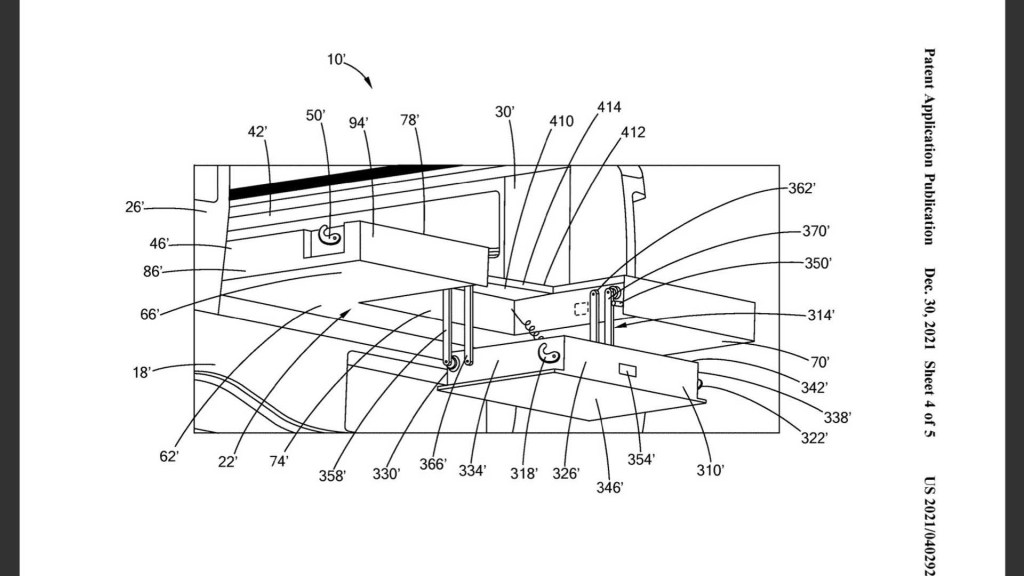
One patent describes a tailgate with a step, making it easier to climb into the bed. Every automaker is doing this, as stepping into truck beds has always been a bit of a hassle. There’s also a patent for a telescoping tailgate in which the center slides in and out to make it larger. An alternative design suggests the telescoping part could go side to side instead of up and down. There are many uses for these patents, and Rivian will own all of them.
Lastly, the third patent Rivian patented is for a tailgate cargo-holding system. Rivian shows it as a bike rack, but it can be configured to hold many different things. There are anchor points on the folded-down tailgate to connect anything the owner needs to carry securely.
What is the purpose of each Rivian patented tailgate tech?

Firstly, the tailgate with the step is obvious. People have to climb into the bed of their truck all the time, and it can be difficult. Especially for people who aren’t as physically capable as they once were, a step makes it extremely simple to climb in and out.
As for the telescoping feature, the one that slides up and down makes it easier to reach into the bed when it is out of the way. Fully-extending makes the bed longer if owners need to haul more oversized items that require more space. The side-to-side telescoping tailgate lets someone put a long object in the bed and use the moving piece to clamp down on the item. This would keep the cargo in place as it hangs out the back of the truck if necessary.
Finally, the last piece holds anything you need to stay in place. Whether it’s an enormous tool or a bicycle, as in the example Rivian provided, owners can quickly secure it tightly in place. This would eliminate having to buy extra tie-downs and accessories.
What are the Ford, Ram, and GM multi-function tailgates?
Similarly, Ford just filed some patents for its tailgate technology. The best-selling trucks will have three separate sections with side hinges. This allows owners to open their truck bed like a door instead of folding down (although it can do both) so that reaching inside or placing items in the bed becomes easier. Additionally, Ford’s offering has a step just like Rivian’s. Every piece that opens or moves is controlled by key fobs automatically, which is a nice touch.
Ram’s tailgate, which has been around since late 2019, is similar to Ford. This one comes with split 60/40 swing-out doors for the same purpose as Ford’s three sections. Additionally, the Ram tailgate can hold up to 2,000 pounds, much higher than average. That way, you don’t have to worry about the tailgate breaking if people are on it, heavy bags of cement are being thrown over it, or other heavy items.
Finally, GM’s offering appears on the Chevy Silverado 1500, GMC Sierra 1500, and GMC Hummer EV. Titled MultiPro, the tailgate offers a stand-up desk space or work surface for writing or using a laptop. Next, like the other automakers, it provides a step to get in and out more quickly. A load stop on the edge of the tailgate works as a bed extender for hauling long items, and it has a close or far space to lock in, depending on the items’ length.
Can the Rivian tailgate tech patent beat Ford, Ram, and GM?

In conclusion, the main pattern you’ll notice is that most of these multi-function tailgates have the same features. There’s only so much you can do with a fold-down door that opens for truck bed access. Fortunately, the more brands that file patents for new ideas, the more each one will improve to compete. Consumers are the real winners in this scenario, as every truck will soon have an excellent functional tailgate.