Psychic Alert! Honda Files a Patent for a Mind-Controlled Motorcycle
Riding a motorcycle can be tough in certain situations, but what if you could do it with your mind? Of course, you already do ride a motorcycle using your mind as your brain transmits messages to signal your arms and feet to move and drive the bike, but what if you could make it respond through your brain signals?
Honda could be building a mind-reading motorcycle
The thought of a mind-controlled motorcycle might sound super crazy, but Honda recently filed a patent that involves a mind-controlled motorcycle that’s controlled via a special helmet. Cycle World reported that technology includes a brain-wave-detection system that can help motorcycles in the future know their driver’s intentions. And while it might be cool to be able to think “steer right” and have the bike respond accordingly, it’s technically a little more complicated than that.
The concept, however, does sound simple: the rider will wear a helmet with built-in electrodes that pick up brain signals and feed them to a “Brain-Machine Interface” computer that sorts them out and send them to the bike.

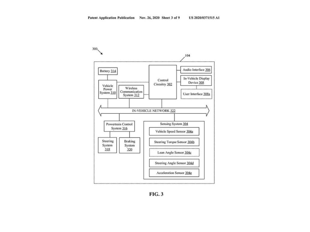
Cycle World also reported that the motorcycle itself isn’t that much different than the bikes that on the market today that includes a lot of the different rider aids. There are integrated accelerometers an inertial measurement unit that computes lean, yaw, and pitch, a computer-aided ABS unit, and a sensor to measuring steering angle.
It’s impressive, but still limited
While the whole concept of the mind-controlled motorcycle is downright impressive, the bike is still limited by the inputs that are programmed into it. The rider would still need to pre-select things like traction control and ABS so that the bike knows how early to intervene. However, the mind-reading aspect of the controls takes the standard rider aids to a new level.

Wheelies are included
Interestingly enough, Honda actually used a wheelie to draw out the bike’s capabilities. While pulling off and perfecting a wheelie in real life is tough to do, Honda’s patent says that the bike will be able to sense inputs that are “indicative of the user’s intent to perform a wheelie” and will assist the rider in performing one by taking over some of the bike’s controls automatically.
The patent also goes on to say, “Once controlled, the throttle may be increased to cross a threshold value and immediately clutches may be pulled to disengage transmission gears. Further, as the engine revolution increases, the clutches may be immediately released by a certain amount while the throttle is controlled. This may pull the front wheel to lift up while the rear wheel stays on the ground.”

The best thing since the self-balancing bike
While the ability to do wheelies isn’t exactly the greatest, and most practical use, of such futuristic technology, it might at least give way to the bike being able to handle much smaller tasks like accelerating, braking, and possibly even turning on a dime.
Those small, daily-driving inputs can’t be too hard to implement considering the automaker has already showcased the self-balancing bike. But the future is yet to come, so we’ll have to wait to see what this mind-controlled motorcycle is all about.