The Next Ford Mustang Might Be a Hybrid With a Stick and Drift Mode
Believe it or not, Ford and drifting go hand in hand. Those who remember the Ford Focus RS will fondly recall its drift mode, which was eventually copied by other automakers. Additionally, professional drivers like Vaughn Gittin Jr. have drifted race-prepped Mustangs around tracks all over the globe. But it doesn’t stop there as a recent patent filing for a future Ford vehicle notes that the next version of the Mustang could involve a hybrid powertrain, a manual transmission, and most excitingly, a drift mode.
The patent suggests that the next Mustang’s drift mode will be different than the last one

To be honest, we’re salivating over the thought of the next Ford Mustang being a hybrid drift car. What’s better than a fuel-efficient sports car that can get sideways at a moment’s notice?
According to The Drive, the best part of the whole design will be “a system in which a special set of clutches disconnect the rear wheels from the drivetrain when drift mode is activated.” That activation will potentially be provided a lever or “drift stick” mounted in the cabin and the brakes will then be applied to make the car slide.
It would be a far different application than the previous system used in the Focus RS, which used a torque vectoring system to make the car slide.
Keep in mind that the patent could be for a different car
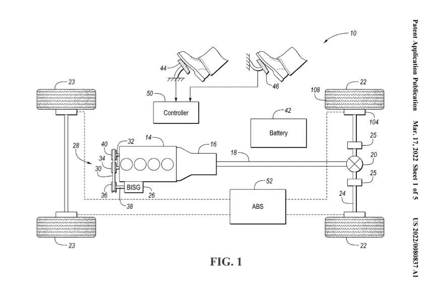
As we wipe the drool from the corners of our mouths, we must remember that a patent is just a patent and this design could be used for another car aside from the Mustang. However, it really only makes sense that it will be used on a sports car-type application. The Drive went on to note that the patent diagram provided by the United States Patent and Trademark Office USPTO specifically shows “two special clutches mounted on either side of the rear differential.”
That being said, there could be other methods for disconnecting the wheels from the drivetrain including the use of an automatic gearbox or through the use of a transfer case or a center differential. That means that this version of drift mode may be able to be used on a platform with an automatic transmission or even all-wheel drive.
As for the engine configuration, the patent suggests that an engine with a mild-hybrid setup could be used, but it also describes the possibility of using an all-electric drivetrain as well.
Ford’s electric future sounds pretty bright

Whether or not this patent is specifically for a future Ford Mustang is yet to be seen. In reality, it’s all speculation for now. It’s possible that Ford filed the patent solely to have it as intellectual property as there is no hard evidence of any future real-world applications. However, Automotive News did suggest that a hybrid version of the Mustang could come out in 2025 along with a hint of an all-wheel drive model.
For now, we’ll just keep daydreaming and drooling over the thought of a Ford hybrid car sliding around the local neighborhoods at will. After all, the Ford Focus RS had a drift mode, so why not include it in a future model? Our fingers will remain crossed for the next bit of news on this matter.