More Proof the 2020 Ford Bronco Will Have Detachable Doors
One of the persistent rumors about the 2020 Ford Bronco is that it will harken back to one of the unique features of the original: removable doors. Thanks to the folks at AutoGuide we get the first evidence that this might actually be true.
Poking around recent patent applications they discovered this one from FoMoCo for an “assembly and method using an inflatable device within a vehicle having a detachable door.”

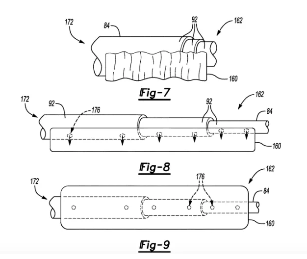
Whether replacing a full tube door cage or just a telescoping restraint bar, once the sheet metal door is removed this device would contain a sensor and control module so that in the case of a crash an inflator is triggered releasing gas through the door tubing and then inflating an airbag.
“Soft Interface”
The inside of the tubing facing the occupants has cut out areas for the inflated airbag to release from and through. Once the bag is expanded it “provides a cushion or soft interface between the occupant and the cage member. The inflatable device essentially damps an impact force between the occupant and the cage member to reduce the effect of the impact force on the occupant.” Commonly referred to as an airbag.

For the telescoping bar application, it would appear that the bar would be stowed in the down position. Then, once the sensor triggers the inflator the bar would move to the “deployed” position. Once in the deployed position, it forces the lid up “causing the inflatable device to transition from the less expanded position to the more expanded position.”
Carbon Fiber Tubes?
As each tubing segment fills with gas it expands the next segment while simultaneously filling the bag. It is also noted that the tubes could be “metal, metal alloy, carbon fiber, or some other material composition.” Yep, I think that pretty much covers all materials, don’t you think?

In a Jeep Wrangler, the airbag is deployed from the seatback toward the front. Obviously, that is a far simpler way of dealing with side airbags. Nonetheless, this is an alternative to that process. Now, just because a patent is applied for, does not guarantee it ever makes it to production.
Another way of looking at this application is that federal or state side-impact regulations may be tightening up within the period Ford anticipates the Bronco will be available. So while it may not see production now, it could be readying the restraint for a future regulation need.
Skinning A Cat
As you’ve been told since a child, “there’s more than one way to skin a cat.”
The 2020 Bronco will go into production later this year at the Metro Detroit assembly plant in Wayne, Michigan. Ford has invested over $850 million to install the new assembly line to build both Rangers and the new Bronco. The Bronco is based on Ranger underpinnings. Motorbiscuit.com expects more Bronco news in the next few weeks.